新闻中心
中超最新积分战报:三镇被踢爆,河南两连胜,云南逼平大连
时间:2025-11-12
中超第25轮进行了2场比赛。武汉三镇在主场迎战河南队,结果被踢爆了,以2-5输掉了比赛。这场比赛武汉三镇的防守漏洞百出,在第11分钟就被阿奇姆彭攻破球门。随后卢永涛连进2球,扩大比分。紧接着,阿奇姆彭再进一球,也完成梅开二度。卡多索在第57分钟进球,此时武汉三镇0-5落后。大比分领先让河南队有些松懈。此后武汉三镇连追2球,达兰-门德斯和龙威各进一球。最终的武汉三镇2-5输掉了比赛。河南队取得两连胜!

武汉三镇近段时间的战绩实在是太差了,连续6场比赛只赢了一场与上海申花,其他5场比赛全部落败,包括这场与河南队的比赛。相比之下,河南队的战绩就要出色得多了。在足协杯淘汰成都蓉城之后,河南队连续4场中超保持不败,3胜1平的战绩很亮眼。

云南玉昆则在主场逼平了大连英博。这场比赛云南玉昆在第27分钟就丢球了。马镇出现极其低级的失误。佩尼亚抓住机会把球打进空门。直到下半场第64分钟,云南玉昆才扳平比分。奥斯卡站了出来,他头球顶进,拯救了球队。最后时刻毛伟杰有绝杀的机会,只可惜他没有把握住单刀机会,处理得太复杂,导致最后的射门被门将化解。最终这场比赛双方踢成1-1平手。云南玉昆依然一胜难求,连续4场联赛都没有赢。
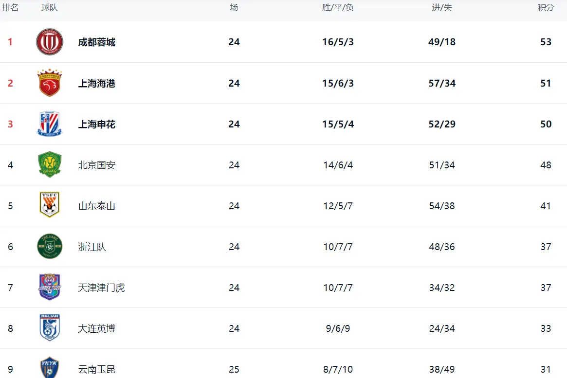
在积分榜上,成都蓉城以53分排名榜首。第2名的是上海海港,拿到了51分。上海申花以50分紧随其后。至于北京国安,就有点掉队了,只拿到48分,排名第4。山东泰山41分排名第5。浙江队和天津津门虎都是37分。大连英博33分,排名第8。云南玉昆31分,排名第9。


